Jiangsu Xuben Photoelectric Technology Co., Ltd.
Jiangsu Xuben Photoelectric Technology Co., Ltd.
Производи
Производи
Адаптер SC/APC SX (без прирабница)
  • Адаптер SC/APC SX (без прирабница)Адаптер SC/APC SX (без прирабница)

Адаптер SC/APC SX (без прирабница)

Клиент ПН:1000053203Rev:A.1Одобрено од:C.CДатум:07/10/2024Опис на производот:Адаптерот за оптички влакна, исто така наречен спојник, е мал уред дизајниран да ги прекине или поврзува каблите со оптички влакна или конекторите за оптички влакна помеѓу две линии на оптички влакна со точно поврзување на ......
Клиент ПН: 1000053203 Rev: A.1
Одобрено од: C.C Датум: 07/10/2024


Опис на производот:

Адаптерот за оптички влакна, исто така наречен спојник, е мал уред дизајниран да ги прекине или поврзува каблите со оптички влакна или конекторите за оптички влакна помеѓу две линии на оптички влакна со точно поврзување на два конектори, адаптерите за оптички влакна овозможуваат да се пренесат изворите на светлина најмногу и да ја намалат загубата колку што е можно повеќе. Во исто време, адаптерите за оптички влакна имаат основаност на мала загуба на вметнување, добра заменливост и репродуктивност.


Апликација:

● Телекомуникациски мрежи

● Локални мрежи (LAN)

● Систем за комуникација

● Просториски инсталации

● мрежи со широк простор (WAN)

● Пренесување на видео

● Врски помеѓу закрпите

● FTTX, CATV

● Врски помеѓу уредите

● Усогласување Рохс

● тело со едно парче


Спецификации за перформанси:

Параметар Адаптер SC/ APC
Стил на тело Симплекс
Режим на конектор за влакна Единечен режим
Боја Зелена
Материјал за ракав Керамика
Вметнување загуба .20.2db
Загуба на алтернатива .20.2db
Повторливост .20.2db
Издржливост Промената на 1000 времиња на интерполација е помала од 0,2dB
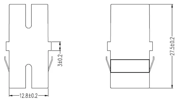
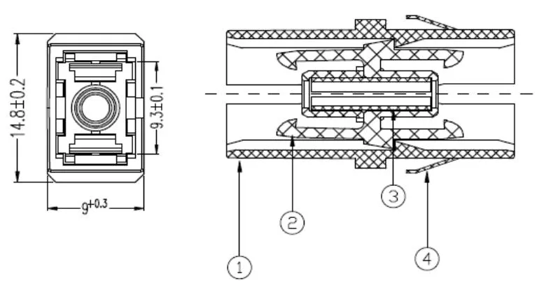
Димензија на пакетот (L) × (W) × (H) 27.5x14.8x9 mm
Работни температури -40 ~ 85 ° C.
Температура на складирање -40 ~ 85 ° C.


Мапа за скици:

SC/APC SX Adapter (Without Flange) SpecSC/APC SX Adapter (Without Flange) Spec



Жешки тагови: Адаптер SC/APC SX (без прирабница)
Испрати барање
Контакт Инфо
  • Адреса

    90 патот Јангтанганг, зона за економски развој, град Јуронг, провинција Џиангсу, Кина

  • тел

  • Е-пошта

    sales@orientalfiber.com

За прашања за нашите производи или ценовник, оставете ја вашата е -пошта до нас и ние ќе бидеме во контакт во рок од 24 часа.
X
Ние користиме колачиња за да ви понудиме подобро искуство во прелистувањето, да го анализираме сообраќајот на страницата и да ја персонализираме содржината. Со користење на оваа страница, вие се согласувате со нашата употреба на колачиња. Политика за приватност
Отфрли Прифати